Numer katalogowy produktuMF3639
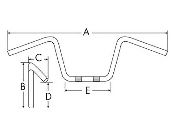
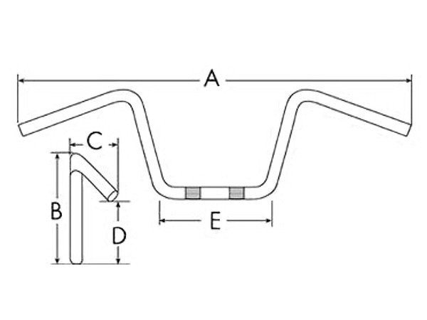
Wzmocniona, czarna kierownica 22cm z rozpurką marki LEOSHI świetnie nadaje się do motorowerów, motocykli typu CROSS, ENDURO, STREET. Kierownica przy uchwytach mocujących posiada wykres ustawienia jej względem kierowcy.
Średnica zewnętrzna: 22 cm
Wykonanie: Aluminium 6061
Wymiary Jak Na Zdjęciu
A: 780 mm
B: 95 mm
C: 50 mm
D: 120 mm
E: 220 mm
Dodatkowe informacje o przedmiocie
Towar jest fabrycznie nowy
Cena dotyczy 1 sztuki
Szczegóły
Producent
Symbol
MF3639
Kod producenta
AW5113
Gwarancja
Stan
Nowy
Dopasowanie do pojazdu
produkt dedykowany
Producent części
Inny
Średnica kierownicy (mm)
22 / 7/8"
Typ kierownicy
cross / enduro
Materiał wykonania
Aluminium
Rozpórka w zestawie
tak
24 miesiące
24 miesiące
Opinie
Napisz swoją opinię
Zadaj pytanie
Zapytaj o produkt











